사람 눈에 맞게 자동으로 도수를 조정하는 안경이 있다면 어떨까. 상상만 해도 편리한 기능이라는 것을 알 수 있다.
최근 미국 특허상표청(USPTO)은 자동으로 도수를 조절하는 애플의 증강현실(AR) 글라스 특허를 등록(등록번호:US10686922)했다.
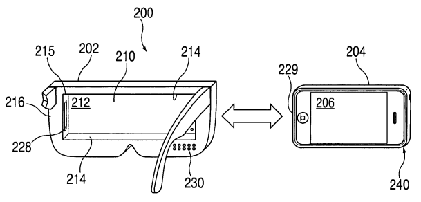
특허에 나오는 AR 글라스가 단일 기기는 아니다. 일반적인 AR 글라스 프레임에 스마트폰을 결합해야 비로소 AR 기능을 온전히 사용할 수 있다. 애플 특허이니 여기서는 아이폰이라고 봐야 한다.
안경 위에 또 새로운 안경을 쓸 수는 없는 법. 안경이나 콘택트렌즈를 착용하지 않아도 기기만 있으면 도수를 조절해주고 AR 기능까지 활용할 수 있다. 기기는 스마트폰 화면 앞에 광학 인터페이스를 배치해 이미지 위치를 변경하고 물체의 크기를 조정해 초점을 맞춘다. 착용자는 이미지를 더욱더 선명하게 볼 수 있다. 정상 시력을 가진 사람이라면 표준 설정에 놓고 기기를 사용하면 된다.
귀 가까운 부분에는 이어폰을 장착했으며 선글라스처럼 렌즈에 색상을 입힐 수는 없는 것으로 보인다.
애플 글라스라고 소개했지만, 아이폰을 거치하고 사용하는 기기이다 보니 아무래도 무게가 나갈 수밖에 없을 것이다. 착용한 것도 잊은 채 일상에서 장시간 사용하기는 어려워 보인다.
또한, 애플워치와 같은 웨어러블이 그런 것처럼 특허 속 AR 글라스도 기본적으로 아이폰의 처리 능력에 의존하는 모습이다.
역시나 기기 완성도 측면에서 놓고 보면 상용화 가능성은 작아 보인다. 아마도 애플 글라스의 최종 형태는 아닐 것으로 판단된다. 궁극적으로는 애플 글라스 단독으로 모든 기능을 실행해야 할 것이다.
시기에 차이만 있을 뿐 머지않아 애플에서 애플 글라스를 내놓을 것으로 관측된다. 지난해 10월 자사 직원 대상 프레젠테이션에서 공유한 로드맵에서 2023년에는 AR 글라스를 내놓을 것이라고 밝혔다.
직접 시제품을 본 것으로 전해지는 유명 IT트위터리안 존 프로서(Jon Prosser)는 최근 애플 글라스가 아이폰과 페어링 되며 렌즈 두 개를 디스플레이로 활용한다고 설명했다. 도수가 들어간 렌즈는 옵션으로 선택할 수 있다. 시제품은 플라스틱으로 제작됐으나 출시 버전은 금속 프레임으로 제작될 것이라고 설명했다. 2020년형 아이패드 프로에 들어간 라이다(LiDAR) 스캐너도 들어간다. 기기를 터치하거나 제스처를 이용해 명령을 입력하며 논란이 될 수 있는 카메라는 들어가지 않았다. 가격은 499달러 정도. 그는 이르면 내년 말이나 늦어도 2022년 초에는 출시될 것으로 예상했다.
존 프로서가 묘사하는 애플 글라스에는 광학 조정 기능이 없는 거로 봐서는 특허 기술은 아직 적용되지 않은 것으로 보인다. 물론 특허를 등록했더라도 해당 기술을 제품에 적용하지 않기도 한다.


댓글
댓글 쓰기